通知公告
首页» 通知公告

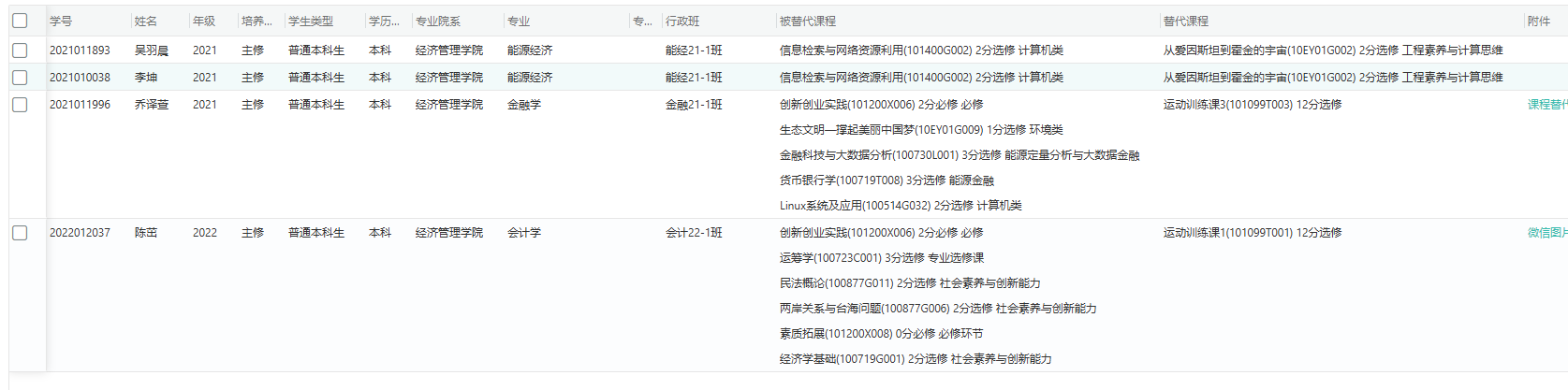
本科生课程替代信息公示

根据通知要求,现对本科生申请办理课程替代情况公示如下:

image.png

公示期2025年3月17日-2025年3月21日,共5个工作日,如对课程替代信息有疑义,请联系学院教务刘老师,电话89731556。